2012年攻读硕士学位研究生入学考试试题
:机械设计
:855#
:机械制造及自动化、机械电子工程、车辆工程、
机械设计及理论、人机与环境工程、机械工程、材料加工工程
一、是非题(每小题1分,共计15分)
1.只承受弯矩,而不承受扭矩的轴称为心轴。
2.当其他条件完全相同时,钢制零件的表面愈粗糙,其疲劳强度愈低。
3.设计外载荷是轴向变载荷的紧螺栓联接,除考虑螺栓的静强度外,还必须根据螺栓的最大应力幅
来验算其疲劳强度。
4.通用的闭式齿轮传动中,当齿轮的圆周速度v≤12m/s时,常采用喷油润滑。
5.碾压、喷丸、渗碳、高频淬火等方法能提高零件的疲劳强度,一是由于表面硬度提高,二是由于
在零件表面产生了残余压应力。
6.变位蜗杆传动中,只是蜗杆改变尺寸,而蜗轮不改变尺寸。
7.推荐链轮最大齿数Z max≤120。此限制是为了保证链速的均匀性。
8.滚动轴承的可靠度提高时,它的基本额定动载荷增大。
9.单个圆锥滚子轴承若用预紧方法可明显提高轴承刚度。
10.对受轴向变载荷的普通螺栓联接适当增加预紧力可以提高螺栓的抗疲劳强度。
11.不可拆卸联接的联接可靠性比可拆卸联接大。
12.滚子链可实现比较平稳和无噪声工作传动。
13.对于通用的减速器,齿轮传动比蜗杆传动效率高,因为在设计齿轮减速器时不必考虑发热问题。
14.在设计减速传动时,考虑到减速装置的传动比愈小,则它的尺寸愈小,因此在选择电动机时,应
尽可能选择额定转速最低的电动机,这样所设计的机器最轻也最经济。
15.普通平键的定心精度低于花键的定心精度。
二、选择题(每空1分,共计18分)
1.对于采用常见的组合和按标准选取尺寸的平键静联接,主要失效形式是________,动联接的主要
失效形式是________。
A.工作面的压溃
B.工作面过度磨损
C.键被剪断
D.键被弯断
2.同时兼有周向和轴向固定的轴毂联接有________。
A.平键联接
B.花键联接
C.半圆键联接
D.过盈配合联接
3.采用张紧轮调节带传动中带的张紧力时,张紧轮应压在_______边上,若考虑带有较长寿命,张紧轮最好放于带的________侧。
A.松
B.紧
C.内
D.外
4.如图,若轴颈由d增至2d,跨距和载荷不变,则轴的强度为原强度的_______倍。
A.2
B.>2
C.<2
D.1(强度不变)

5.某正反向回转,承受轴向力大的蜗杆轴系,当在一般速度下运转时,需选用______支承结构,在高速运转条件下,则宜选用_______支承结构。
A. 深沟球轴承两端固定
B. 角接触球轴承两端固定
C. 双列推力球轴承与60000型构成一端固定,另一端游动
D. 一对角接触球轴承构成一端固定,另一端游动
6.机械零件由于某些原因不能_______时称为失效。
A.工作
B.连续工作
C.正常工作
D.负载工作
7.对齿面硬度≤350HBS的一对齿轮传动,选取齿面硬度时应使___________。
A. 小齿轮齿面硬度<;大齿轮齿面硬度
B. 小齿轮齿面硬度=大齿轮齿面硬度
C. 小齿轮齿面硬度>大齿轮齿面硬度
D. 小齿轮齿面硬度≤大齿轮齿面硬度
8.中速旋转正常润滑的滚动轴承的主要失效形式是__________。
A.滚动体碎裂
B.滚动体与滚道产生疲劳点蚀
C.滚道磨损
D.滚道压坏
9.链传动属于_____________。
A.具有挠性拉曳元件的摩擦传动
B.具有挠性拉曳元件的啮合传动
C.具有直接接触的工作元件的摩擦传动
D.具有直接接触的工作元件的啮合传动
10. 在防止螺纹联接松脱的各种措施中,当承受冲击或振动载荷时,______是无效的。
A.采用具有增大摩擦力的防松装置,如螺母与被联接件之间安装弹簧垫圈。
B.采用以机械方法来阻止回松的装置,如用六角槽形螺母与开口销。
C.采用人为方法(如胶或焊)将螺纹副变为不能转动。
D.设计时使螺纹联接具有自锁性(即使螺纹升角小于当量摩擦角)。
11.与齿轮传动和链传动相比,带传动的主要优点是________。
A.工作平稳,无噪声
B.传动的重量轻
C.摩擦损失小,效率高
D.寿命较长
12.机床主轴箱中的变速滑移齿轮,一般应选用_______。
A.直齿圆柱齿轮
B.斜齿圆柱齿轮
C.人字齿圆柱齿轮
D.直齿锥齿轮
13.下列滚动轴承密封装置中_______属于接触式密封。
A.毡圈密封
B.甩油环
C.迷宫式密封
D.缝隙密封
14.采用_______轴承的轴系轴向刚度高。
A.圆锥滚子轴承
B.角接触球轴承(α=25°)
C.深沟球轴承
D.角接触球轴承(α=15°)
15.起吊重物用的手动蜗杆传动,宜采用________的蜗杆。
A.单头、小导程角
B.单头、大导程角
C.多头、小导程角
D.多头、大导程角
三、填空题(每空1分,共计20分)
1.一般来说,滚动轴承的刚度_______滑动轴承,球轴承的刚度比滚子轴承______,动压滑动轴承的
刚度_______静压滑动轴承。
2.适用于渗碳淬火的齿轮材料有___________,适用于表面感应淬火的齿轮材料有_________,请各
举出一种常见材料(写出其牌号)。
3.非液体摩擦滑动轴承是工作在________摩擦状态,验算Pv值为了限制________。
4.在传动比不变的条件下,V带传动的中心距增大,则小轮的包角________,因而带传动的承载能力
________。
5.滚动轴承工作时,同一滚动体与内座圈接触点处的接触载荷和滚动体与外座圈接触点处的接触载
荷_________等,接触应力___________等。
6.紧螺栓联接按拉伸强度计算时,考虑到拉伸应力和扭转切应力复合作用,应将拉伸载荷增大至
______倍。
7.角接触球轴承7210C的基本额定动载荷Cr=33.9kN,表示该轴承在33.9kN的载荷下寿命为______r
时,可靠度为________。
8.链传动通常放在传动系统中的________级。
9.轴的强度计算主要有三种方法:1)_________________________;2)_________________________;
3)________________________;
10.从防松工作原理来看,用弹簧垫圈属于__________防松;用止动垫圈与圆螺母配用属于________
防松措施。
四、问答题(共计12分)
1.滑动轴承采用间歇润滑的供油装置常用的有哪些?简述该种供油方法用于何种工况轴承。(6分)
2.与粗牙螺纹相比,细牙螺纹有什么特点?(6分)
五、结构题(共计15分)
1.画出轴的转动方向(轴主动)(5分)

2.如果下图轴系结构有错误,请将正确结构图画在轴的另一侧。(10分)

六、综合题(共计70分)
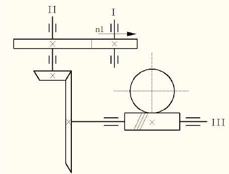
1.图示传动系统:
1)为使II轴上的轴承所受轴向力最小,定出斜齿圆柱齿轮的螺旋线方向和蜗轮轮齿的旋向。
2)在图上标出各对齿轮的转向和受力方向(用三个分力表示)。(15分)

2.以角接触轴承为例,在下表中画出不同安装型式,两种工作零件位置(悬伸端及两轴承间)情况
下的轴系布置简图,并在简图上标出支点位置,作用力位置,支点距离,力作用点到支承的距离;
分别对工作零件两种位置情况下在不同安装型式时,轴在工作零件处的刚性进行比较。(15分)

3.有一单个紧螺栓联接,已知预紧力F’=7500N,轴向工作载荷F=6000N,螺栓刚度C1=200N/μm,
被联接件刚度C2=800N/μm,要求:
1)计算螺栓所受的总拉力F0和剩余预紧力F’’;
2)为使接合面不出现缝隙,轴向工作载荷最大值F max是多少?
3)若要使F0减小,又不增加螺栓个数,有哪些具体措施?(20分)
4.一对圆锥滚子30206轴承,安装形式如图。已知轴承1、2所受径向载荷为F r1=970N,F r2=840N,
F A为作用于轴上的轴向力,F A=237N,常温且载荷平稳,轴承附加轴向力F s的计算式为F s=F r/(2Y),Y=1.7,e=0.37,试计算轴承1、2的当量动载荷P1和P2。如果已知轴的转速n=1200r/min,轴承的预期寿命为L′h=24000h,ε=10/3,问该轴承能否满足要求?(20分)
所需参数如下表:

