c.其思想内容及具体原则,在今后几十年世界各国的规划和建设实践中起着重要作用。
2.绘制“田园城市”的平面图解
答:霍华德于1898年出版了以《明天:通往真正改革的和平之路》为题的论著,提出了田园城市的理论他的概念是:田园城市是为健康、生活以及产业而设计的城市,它的规模能足以提供丰富的社会生活,但不应超过这一程度;四周要有永久性的农业地带围绕;城市的土地归公众所有,由委员会受托管理。
根据霍华德的设想,田园城市包括城市和乡村两个部分。田园城市实质上就是城市和乡村的结合体,每一个田园城市的城区用地占总用地的1/6,若干个田园城市团结着中心城市(中心城市人口规模为58000人),呈圈状布置,借助于快速的交通工具(铁路)只需要几分钟就可以往来于田园城市与中心城市或田园城市之间。城市之间是农业用地,包括耕地、牧场、果园、森林以及农业学院、疗养院等,作为永久性保留的绿地,农业用地永远不得改作它用。
田园城市的城区平面呈圆形,中央是一个公园,有六条主干道路从中心向外辐射,把城市分成六个扇形地区。在其核心部位布置一些独立的公共建筑(市政厅、音乐厅、图书馆、剧场、医院和博物馆)。在城市走私线的外1/3处设一条环形的林阴大道,并以此形成补充性的城市公园,在此两侧均为居住用地。在居住建筑地区中,布置学校和教堂。在城区的最外围地区建设各类工厂、仓库和市场,一面对着最外层的环形道路,一面对着环形的铁路支线,交通非常方便。
三、论述题
1.试述比较古代长安城和北京城在规划布局与空间形态方面各自特点。
答:古代长安:
1)规模宏大、形态完整,结合自然、法自天象。2)中轴对称,道路规整,坊里严谨,市肆方整,城市布局井然有序。3)分区严明,官民不相参,强化城市管理。4)组织实施严密,表明当时城市建设上物质基础技术与科学水平相当发达。5)规划中某些问题处理比较主观,如两市太少又过于集中,坊里制限制了商品经济的发展,东夹城干扰交通等。
古代北京:
1)布局恢复宗法礼制思想,继承前代都城规划的传统,成为我国古代都城建设的集大成者。2)城市布局艺术上,重点突出,主次分明,中轴对称,宏伟壮丽。
3)方格网道路体系,但由于宫城居中,城市东西向道路交通受阻。4)商业市肆分布在城南正阳门外,城内鼓楼钟楼及很多行业市场和商业街构成集中与分散结合的商业网。5)居住坊里与道路相适应,继承元代的创新,散布于皇城四周,共37坊,居住环境良好,外城为一般居民居住。6)城市水系基本承袭元大都的体系,但是漕运不入内城,给水以井水为主,城市排水系统重新整修。7)城内各种宗教建筑杂然并存。
2.简述现代城市发展面临的主要问题,并谈谈城市经济在城市发展中的作用。答:现代城市面临的问题:
(1)城市化进程日益加快,城市规模迅速膨胀,城市用地急剧扩展。
(2)现代城市在创造巨大财富的同时对自然环境严重的破坏。
(3)自然资源供应能力紧张,生态环境承受极大压力,城市生态环境严重破坏。(4)随着近代农业的发展,化肥农药等迅速普及,森林草原的锐减,城市外部生态环境的恶化,又对城市生态环境雪上加霜。
(5)现代城市以纯理性思维的功能主义和对历史传统的否定
(6)对环境景观的漠视和对古建筑的肆意拆毁,造成了城市历史文化环境的破坏,致使现代城市显得冰冷而乏味。
城市经济的作用:
(1)城市经济的发展水平对城市的职能的发挥有重要的影响。
(2)发展城市经济是协调诸多矛盾的结合点。
(3)发展经济还是积累工业化条件的必由之路。
(4)发展经济也使得城市更具有集聚力和活力。
建筑构造部分
2016年
一、名词解释(2*5分)
1.伸缩缝:建筑物因受温度变化的影响而产生热胀冷缩,构件内产生温度应力,该应力与温差和建筑物的尺度成正比,达到一定值后,建筑物就会出现不规则破坏,为预防这种情况,常沿建筑物长度方向每隔一定距离或结构变化较大处预留垂直缝隙,这条缝即为伸缩缝或称温度缝。
伸缩缝要求把建筑物的墙体、楼板层、屋顶等地面以上部分全部断开,基础部分因受温度变化影响较小,不需断开。伸缩缝缝宽一般为20一30mm。
2.外墙保温:外墙保温有多种类型,传统外墙保温主要有聚合物砂浆、玻璃纤维网格布、阻燃型模塑聚苯乙烯泡沫板(EPS)或挤塑板(XPS)等材料复合而成,现场粘结施工,新型外墙保温主要是保温装饰一体化板。外墙保温具有保温、防水、饰面等功能,是满足当前房屋建筑节能需求,提高工业与民用建筑外墙保温水平的优选材料,也是对既有建筑节能改造的首选材料。
二、构造绘图(1*5分)
1.绘出窗台防水构造节点大样图。(12年重题)

2015年
二、名词解释
1.构造柱在砌体房屋墙体的规定部位,按构造配筋,并按先砌墙后浇灌混凝土柱的施工顺序制成的混凝土柱,通常称为混凝土构造柱,简称构造柱(建筑图纸里符号为-GZ)。它与各层圈梁连接,形成空间骨架,加强墙体抗弯、抗剪能力,使墙体在破坏过程中具有一定的延伸性,减缓墙体的酥碎现象产生。
2.筏形基础建筑物的基础由整片的钢筋混凝土板组成,板直接由地基土承担,又称为片筏基础。根据使用条件和断面形式可以分为平板式和梁板式。整体性好,可跨越基础下局部软弱土,适合于上部建筑物荷载较大而地基承载力较差的情况
二、默图题
1.画出平屋顶女儿墙的局部面放大样图

2014年
1.名词解释(5分/题)
变形缝:为防止建筑物在外界因素作用下,结构内部产生附加变形和压力,导致建筑物开裂、碰撞甚至破坏而预留的构造缝,包括伸缩缝、沉降缝和抗震缝。
变形缝实际上就是把一个整体的建筑物从结构上断开,划分成两个或两个以上的独立的结构单元,两个独立的结构单元之间的缝隙就形成了建筑的变形缝。同时,在变形缝处还要进行必要的构造处理,以保证建筑物从建筑的角度(例如建筑空间的连续性、建筑保温、防水、隔声等围护功能的实现)上仍然是一个整体。(综合规范与天大版《建筑构造》)
石材幕墙(建筑学):由天然建筑石材与支承结构体系(支承装置与支承结构)组成的、可相对主体结构有一定位移能力或自身有一定变形能力、不承担主体结构所受作用的建筑外围护墙。根据金属连接件的形式,石材幕墙的构造有钢筋网上金属丝栓挂与水泥砂浆灌缝结合的湿挂法,也有用金属型钢骨架直接固定石材而无数你砂浆灌缝的干挂法。(来自《建筑幕墙GB/T 21086—2007》规范与天大版《建筑构造》)
2.默图题:(5分/题)
坡屋面块瓦钢挂瓦条构造
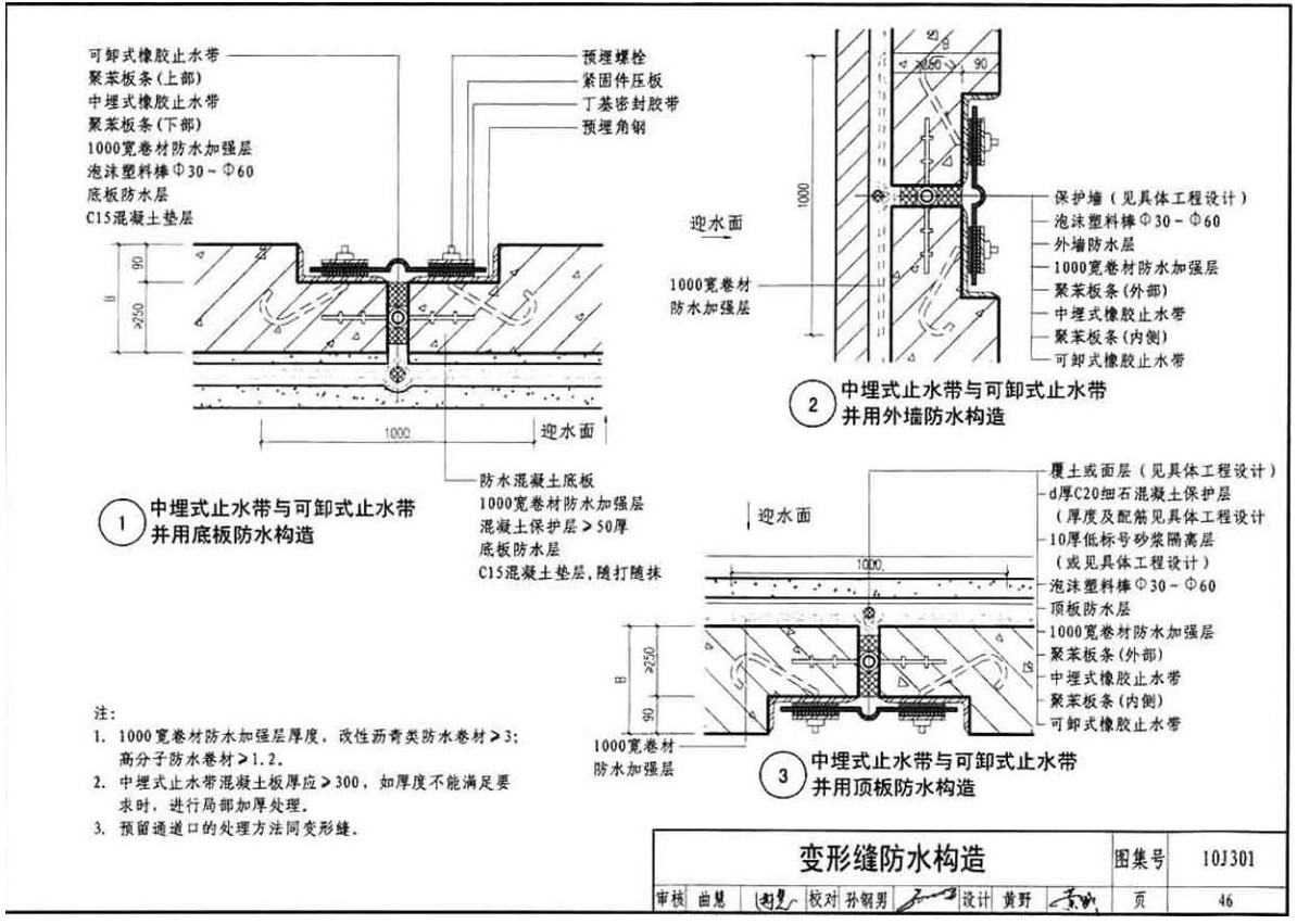
(重大版建筑构造第六章屋盖,图P6-47,b图为钢挂瓦条,c图为木挂瓦条)2.地下室底板变形缝防水详图

(来自天大版建筑构造)
2013年
一、判断题(1分一题)
1、抗震缝须从建筑基础底部就开始设置
答:错误。抗震缝一般从基础顶面开始断开,沿房屋全高设置。建筑构造书本原文。在《建筑抗震设计规范》内一般称为“防震缝”。
5.住宅公共楼梯的平台净宽不应小于1.5m
答:楼梯平台净宽不应小于楼梯梯段净宽,且不得小于1.20m。建筑构造书本原文。
7.纤维水泥加压板可以作为卫生间吊顶罩面板
答:正确。来自一级建筑师《建筑师材料与结构》。
三.大面积细石混凝土屋面防水层须设分仓缝,每仓面积不宜小于25㎡。
答:错误。分仓缝每仓面积一般为15-25㎡。
2.杂填土不得作为地面垫层的填土使用。
答:正确。杂填土主要出现在一些老的居民区和工矿区内,是人们的生活和生产活动所遗留或堆放的垃圾土。这些垃圾土一般分为三类:即建筑垃圾土、生活垃圾土和工业生产垃圾土。不同类型的垃圾土、不同时间堆放的垃圾土很难用统一的强度指标、压缩指标、渗透性指标加以描述。杂填土的主要特点是无规划堆积、成分复杂、性质各异、厚薄不均、规律性差。因而同一场地表现为压缩性和强度的明显差异,极易造成不均匀沉降,通常都需要进行地基处理。因此不能作为地面垫层的填土。(来自维普数据库)
二、画图(5分一题)
1、不上人倒置式二级卷材防水平屋面节点
答案:
题中要求是二级倒置式,可以参考国家规范:《倒置式屋面工程技术规程》。
倒置式屋面inversion type roof定义:将保温层设置在防水层之上的屋面。
下图来自标准图集《平屋面建筑构造》

来自《地下建筑防水构造》图集:



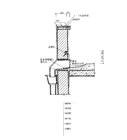
三.外窗台防水构造节点

2012年
判断(5分)
水泥混凝土路面的排水坡度为1%~2% 正确
蛭石可以直接铺在涂膜防水屋面上作保护层错误:涂膜防水层的保护层为浅色细沙或绿豆沙,而非蛭石。(重大版建筑构造P126-127)
……
……
……
画出常见的三种基础类型,并加以说明。(15分)
重庆大学版《建筑构造》P167-172
天津大学版《建筑构造》P75-79
按基础的受力特点,可分为:刚性基础、柔性基础。
按基础的材料组成,可分为:砖基础、石基础、混凝土基础、毛石混凝土基础、钢筋混凝土基础等。(前四种内无钢筋承受拉应力的基础均为刚性基础,钢筋混凝土为柔性基础,由于刚性基础都受到刚性角的限制,所以这几种基础的构造形式大体相同,仅是材料不同。由此笔者认为此种分类形式并非命题人所要考察的内容,但本文仍然加入配图)


按基础的构造形式,可分为:带型基础、独立式基础和联合基础。(根据题意,笔者认为需要默绘的是此种分类下的基础构造)
带型基础:基础为连续的基础,也叫带型基础。当地基条件较好、基础埋置深度较浅时,墙承式的建筑多采用带型基础,以便传递连续的条形荷载。
独立式基础呈独立的块状,形式有台阶形、锥形、杯形等。独立式基础主要用于柱下。在墙承式建筑中,当地基承载力较弱或埋深较大时,为了节约建筑材料、减少土方石工程量,加快工程进度,也可采用独立是基础。



