传感器复习资料
第一章
1、传感器的定义:能够检测特定的物理量并将其转换为相应的电量的装置(或者是一种以一定的精确度把被测量转换为与之有确定对应关系的、便于应用的某种物理量的测量装置)。
2、传感器的组成:由敏感元件、转换元件、信号调理转换电路三部分组成。
3、传感器的作用:信息的收集、信息数据的转换和控制信息的采集,处于被测对象和检测系统的接口位置。
4、传感器的静态特性:是指传感器被测输入量各个值为不随时间变化的恒定信号时,系统的输入和输出之间的关系,包括线性度、灵敏度、重复性、迟滞、漂移;动态特性是指传感器的输入为随时间变化的信号时,系统的输入与输出之间的关系。
5、提高传感器性能的技术途径:采用线性化技术、采用闭环技术、采用补偿和校正技术、采用差动技术、
第二章
6、测量基本概念:测量就是借助专用的手段和技术工具,通过实验的方法,把被测量与同种性质的标定进行比较,求出两者的比值,从而获得被测量大小的过程。
7、测量的方法:直接测量、间接测量、组合测量。
8、真值的概念:是指在一定的时间以及空间条件下,被测量所体现的真实数值。
9、绝对误差:绝对误差是指测量结果的测量值与被测量的真值之间的差值。
10、相对误差:绝对误差与真值之比。引用误差:绝对误差与测量仪表的满量程A的百分比。
11、测量误差的分类:系统误差、随机误差、粗大误差。测量精度包括准确度、精密度、精确度。
12、测量数据的表述方法:表格法、图示法、经验公式法。
13、测量不准确度的定义:与测量结果相关联的一个参数,用以表征合理的赋予被测量之值的分散性。
第三章
14、电阻应变片的类型:按材料分主要有金属应变片和半导体应变片两大类。
15、电阻应变片的特性:灵敏系数K、横向效应、初始电阻、绝缘电阻、最大工作
电流、应变极限、机械滞后、蠕变和零漂、疲劳寿命
16、温度误差及补偿措施:自补偿法、桥路补偿法。压阻效应:半导体材料受到应
力作用时,其电阻率会发生变化,这种现象就称为压阻效应。
17、应变片的核心是敏感栅,敏感栅的作用是实现应变—电阻转换,其电阻值一般
为120欧姆。
18、测量电桥一般分为直流电桥和交流电桥。产生温度误差的原因有两个:意识敏
感栅金属丝电阻本身随温度发生变化;而是试件材料与应变丝材料的线膨胀系数不一致使应变丝产生附加变形而造成的电阻变化。
第四章
19、电感式传感器种类一般分为自感式和互感式。自感式电感传感器分为变气隙式、变面积式、差动螺管式。
20、自感式电感传感器的测量电路有:电桥电路、谐振电路、调频电路、相敏检波
电路。
21、交流电桥式电感式传感器的主要测量电路,它的作用是将线圈电感的变化转换
成电桥电路的电压或电路输出。
22、、差动变压器(互感式)传感器:差动变压器传感器是一种线圈互感随衔铁位
移变化的变磁阻式传感器。
23、电涡流效应:置于变化磁场中的块状金属导体或在磁场中做切割磁力线的块状
金属导体,则在此块状金属导体内将会产生旋涡状的感应电流的现象,称为电涡流效应。
24、电涡流式传感器的测量电路有三种:谐振电路、电桥电路、Q值测试电路。目
前所用的谐振电路有三种类型:定频调幅式、变频调幅式、调频式。
第五章
25、电容式传感器的定义:以各类型的电容器作为敏感元件,将被测物理量的变化
转换为电容量的变化,再由转换电路转换为电压、电流或频率,以达到检测的目的。
26、电容式传感器的分类:变极距型电容传感器、变面积型电容传感器、变介电常
数型电容传感器。
27、电容式传感器的测量电路:电流不平衡电桥电路、二极管双T形交流电桥测量
电路、差分脉冲调宽电路、运算放大电路。
第六章
28、磁敏式传感器的定义;基于磁电转换原理的传感器,是指对磁场参量及其变化比
较敏感,并能按照一定的规律将其转换成为可用输出信号的器件或装置。
29、磁敏式传感器的分类有:结构型、物性型、复合型。主要学习是半导体式传感
器中的霍尔磁敏传感器。
30、霍尔磁敏传感器包括霍尔元件和霍尔电路。后者是将分立的霍尔元件与放大器
电路等集成在一块硅片上构成的。
31、什么是霍尔效应:当在长方形半导体片的长度方向通以直流电流声I时,若在
其厚度方向存在一磁场B,那么在该半导体片的宽度方向就会产生电位差,这种现象就是霍尔效应。
32、霍尔元件的主要参数:输入电阻和输出电阻、额定激励电流、不等位电势.......
33、霍尔式磁敏传感器的应用:霍尔元件用于功率的测量、霍尔元件用于磁场的测
量以及铁磁物体的探测、霍尔元件用于微位移的测量、霍尔转速传感器。
34、结型磁敏器件:磁敏二极管、磁敏三极管(特点及应用P107)。
35、磁阻效应:位于磁场中的通电半导体,因洛仑兹力的作用,其载流子的漂移方
向将发生偏移,致使与外加电场同方向的电流分量减小,电阻增大,这种现象称为磁阻效应。
解答题
简述压电效应
答:某些电介质,当沿着一定方向对其施加外力而使他变形时,内部就产生极化现象,相应的会在它的两个表面上产生符号相反的电荷,当外力去掉后,又重新恢复到不带电状态,这种现象称为压电效应。(注意什么是正压电和逆向压电效应)
简述压阻效应
答:半导体材料受到力的作用时,其电阻率会发生变化,这种现象就称为压阻效应。
简述霍尔效应及其霍尔元件的不等为电势产生的原因
答:当在长方形半导体片的长度方向通以直流电流声I时,若在其厚度方向存在一磁场B,那么在该半导体片的宽度方向就会产生电位差,这种现象就是霍尔效应。
不等位电势产生的主要原因:霍耳电极安装位置不对称或不在同一等电位面上;半导体材料不均匀造成了电阻率不均匀或是几何尺寸不均匀;激励电极接触不良造成激励电流不均匀分布等。
消除热电偶冷端温度的影响有哪些常用的方法
答:冷端零摄氏度恒温法、补偿导线法、补偿电桥法。
简述电涡流效应
答:置于变化磁场中的块状金属导体或在磁场中做切割磁力线的块状金属导体,则在此块状金属导体内将会产生旋涡状的感应电流的现象,称为电涡流效应。
简述电阻应变计温度误差的产生原因及补偿办法
答:产生温度误差的原因有两个方面:一是敏感栅金属丝电阻本身随温度发生变化;二是试件材料与应变丝材料的线膨胀系数不一致使应变丝产生附加变形而造成的电阻变化。补偿方法为:自补偿法、桥路补偿法。
此外还要注意的简答题有光电效应、热电偶中间材料定理、莫尔条纹是怎么样产生的以及具有那些特性?
计算题
老师上课给的题目会做的同学传一下!求解啊!!!
1、当一个热电阻温度计所处的温度为20℃时,电阻值为100Ω。当温度为25℃时,它的电阻值为101.5Ω。假设温度与电阻之间的变换为线性关系,试计算当温度分别处在-100℃和150℃时的电阻值是多少?
2、当光纤的纤芯的折射率n1=1.80,包层的折射率n2=1.20,如光纤的外部介质
(大气)的折射率n1=1.00,求如射光能在光纤内产生全内反射时,入射光的最
大入射角度θC的值(即光纤的数值孔径NA)。
3 、用测量范围为—50~150KkPa的压力传感器测量140kPa时,传感器测的市值为+142kPa,求该示值的绝对误差、相对误差和引用误差。
4、已知待测电压约为80V左右。现有两只电压表,一只为0.5级,测量范围为0~300V,另一只为1.0级,测量范围为0~100V。问选用哪一只电压表测量较好,为什么?
五、应用题
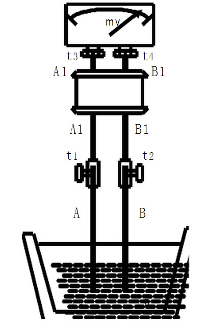
1、在炼钢厂中,有时直接将廉价的热电极(易耗品,如K型:镍络、镍硅热电极,时间捎长即熔化)的两极插入钢水中测量钢水温度,如下图所示:
试说明:
1)为什么不必要将热电极的测量端焊在一起?应用了热电偶什么定理?
2)要满足哪些条件才不影响测量的精度?采用上述方法是利用了热电偶的什么定律?
3)如果被测物不是钢水,而是熔化的塑料行吗?为什么?试说明原因。

传感器与检测技术名词解释
本站小编 免费考研网/2015-06-12
相关话题/传感器
西北工业大学06年工程硕士(传感器原理与测试技术)考试大纲
五院 机电学院 题号:314 《传感器原理与测试技术》考试大纲 一、考试内容 1.传感器原理 常用传感器工作原 ...GCT工程硕士 Freekaoyan.com 2009-01-04
